Магістральний фільтр - це спеціальни
-
Переміщення
- Пневмоциліндри за міжнародними стандартами
- Компактні пневмоциліндри (притискні)
- Пневмоциліндри з неіржавної сталі
- Пневмоциліндри з вбудованими напрямними
- Пневмоциліндри не за стандартом
- Поворотні пневмоциліндри
- Безштокові пневмоциліндри
- Магнітні датчики положення
- Додаткове приладдя до циліндрів
- Спеціальні рішення
- Управління
- З’єднання
- Підготовка повітря
- Магістральна підготовка повітря
- Трубопровідна арматура
- Захвати Пневматичні
- Компоненти вакуумної системи
- Електричні приводи
Нова продукція
Фільтри серії FYD розроблені для високоеф
Фільтри F4-...-О2 для роботи з киснем були спец
Витратомір Серії FS розрахований на діапазон витра
Ці кульові крани MINI використовуються для відкрит
Пропорційний регулятор тиску Серії PME є ідеальним
Пневматичні слайдери Серії MST є ідеальним рішення
Мініслайдери Серії MSN є оптимальним рішенням для
Завдяки широкому діапазону доступних опцій, пневма
Завдяки широкому діапазону доступних опцій, пневма
Завдяки широкому діапазону доступних опцій, пневма
Завдяки широкому діапазону доступних опцій, пневма
Завдяки широкому діапазону доступних опцій, пневма
Дана засувка призначена для целюлози, цементного ш
Дана засувка призначена для целюлози, цементного ш
Регулятори тиску з пневматичним керуванням Серії MX
Опис
Можливість отримання постійно-го тиску на виході забезпечує високу продуктивність і сбе- реження енергії. Всі регулятори мають вбудовану систему блокування. Використання вбудованого манометра робить регулятори Серії МХ більш компактними.
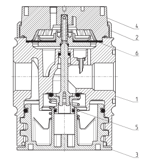
Регулятори тиску з пневматичним керуванням Серія MX - матеріали
![]() |
| ДЕТАЛЬ | МАТЕРІАЛИ |
| 1 = Корпус | Алюміній |
| 2 = Кришка | Поліацеталь |
| 3 = Нижня кришка | Поліацеталь |
| 4 = Верхня кришка | Поліамід |
| 5 = Нижня пружина | Неіржавна сталь |
| 6 = Мембрана | NBR |
| Ущільнення | NBR |
Регулятори тиску з пневматичним керуванням Серія MX - розміри
![]() |
PR09 = регулятор зі скиданням тиску PR10 = регулятор зі скиданням тиску і манометром PR11 = регулятор без скидання тиску PR12 = регулятор без скидання тиску і з манометром |
![]() |
![]() |
| Мод. | A | B (бар) | C | G | H | I | М | Y (порт керування) | N | P | R | S | Т | Вага(кг) |
| MX2-3/8-RCP004 | G3/8 | 0 ÷ 12 | 70 | 65 | 74,5 | 68 | 45 | М5 | 98 | 10 | 88 | 50,5 | 37,5 | 0,5 |
| MX2-1/2-RCP004 | G1/2 | 0 ÷ 12 | 70 | 65 | 74,5 | 68 | 45 | М5 | 98 | 10 | 88 | 50,5 | 37,5 | 0,5 |
| MX2-3/4-RCP004 | G3/4 | 0 ÷ 12 | 70 | 65 | 74,5 | 68 | 45 | М5 | 98 | 10 | 88 | 50,5 | 37,5 | 0,5 |
МЕХАНІЧНІ ХАРАКТЕРИСТИКИ ПНЕВМОКЕРОВАНИХ РЕГУЛЯТОРІВ ТИСКУ
![]() |
|
| Pr = Тиск на виході (бар) Q = Витрати (Нл/хв) Тиск на вході = 10 бар |
Pr = Тиск на виході (бар) Q = Витрати (Нл/хв) Тиск на вході = 10 бар |
![]() |
|
| Pr = Тиск на виході (бар) Q = Витрати (Нл/хв) Тиск на вході = 10 бар |
ЗАЛЕЖНІСТЬ ТИСКУ НА ВИХОДІ ВІД ТИСКУ КЕРУВАННЯ Pr = Тиск на виході (бар) Pp = Тиск керування (бар) Тиск на вході = 10 бар |
Показати більше
Код![]() |
Найменування![]() |
|---|
|
Конструкція |
модульний, компактний, мембранного типу |
|
Матеріали |
див. ТАБЛИЦЮ МАТЕРІАЛІВ |
|
Приєднання |
G3/8 - G1/2 - G3/4 |
|
Монтаж |
вертикально в магістралі на стіні (використовуючи кронштейн) |
|
Робоча температура |
-5°C ÷ 50°C до 16 бар (при негативних температурах використовувати осушене повітря) -5°C ÷ 50°C до 10 бар (при негативних температурах використовувати осушене повітря) |
|
Тиск на вході |
0 ÷ 16 бар |
|
Тиск на виході |
10 бар |
|
Скидання надлишкового тиску |
зі скиданням тиску (стандарт); без скидання |
|
Номінальні витрати |
див. ГРАФІКИ ВИТРАТ |
|
Робоче середовище |
стиснене повітря |
|
Наявність манометра |
з вбудованим манометром (стандарт); з портами для манометрів, приєднання G1/8 |






