-
Переміщення
- Пневмоциліндри за міжнародними стандартами
- Компактні пневмоциліндри (притискні)
- Пневмоциліндри з неіржавної сталі
- Пневмоциліндри з вбудованими напрямними
- Пневмоциліндри не за стандартом
- Поворотні пневмоциліндри
- Безштокові пневмоциліндри
- Магнітні датчики положення
- Додаткове приладдя до циліндрів
- Спеціальні рішення
- Управління
- З’єднання
- Підготовка повітря
- Магістральна підготовка повітря
- Трубопровідна арматура
- Захвати Пневматичні
- Компоненти вакуумної системи
- Електричні приводи
Нова продукція
Циклонні сепаратори розроблені для високоефекти
Магістральний фільтр - це спеціальни
Фільтри серії FYD розроблені для високоеф
Фільтри F4-...-О2 для роботи з киснем були спец
Кульові крани мініатюрного виконання застосовую
Опис
Кран кульовий серії S90 двоскладовий, з ручним керуванням, призначений для керування потоком рідин, газів та інших речовин, сумісними з матеріалами корпусу та ущільнень кульового крану. З'єднання - G3/8'' - G2'' (різьба внутрішня згідно ISO228-1) Діаметр умовного проходу - 10 - 50 Робочий тиск - до 40 бар Матеріали: корпус - латунь покрита нікелем, шар - хромована латунь ущільнення - PTFE Керування - ручне
ВИТРАТНА ХАРАКТЕРИСТИКА
![]() |
ДІАГРАМА ЗАЛЕЖНОСТІ ТЕМПЕРАТУРИ ВІД ТИСКУ
![]() |
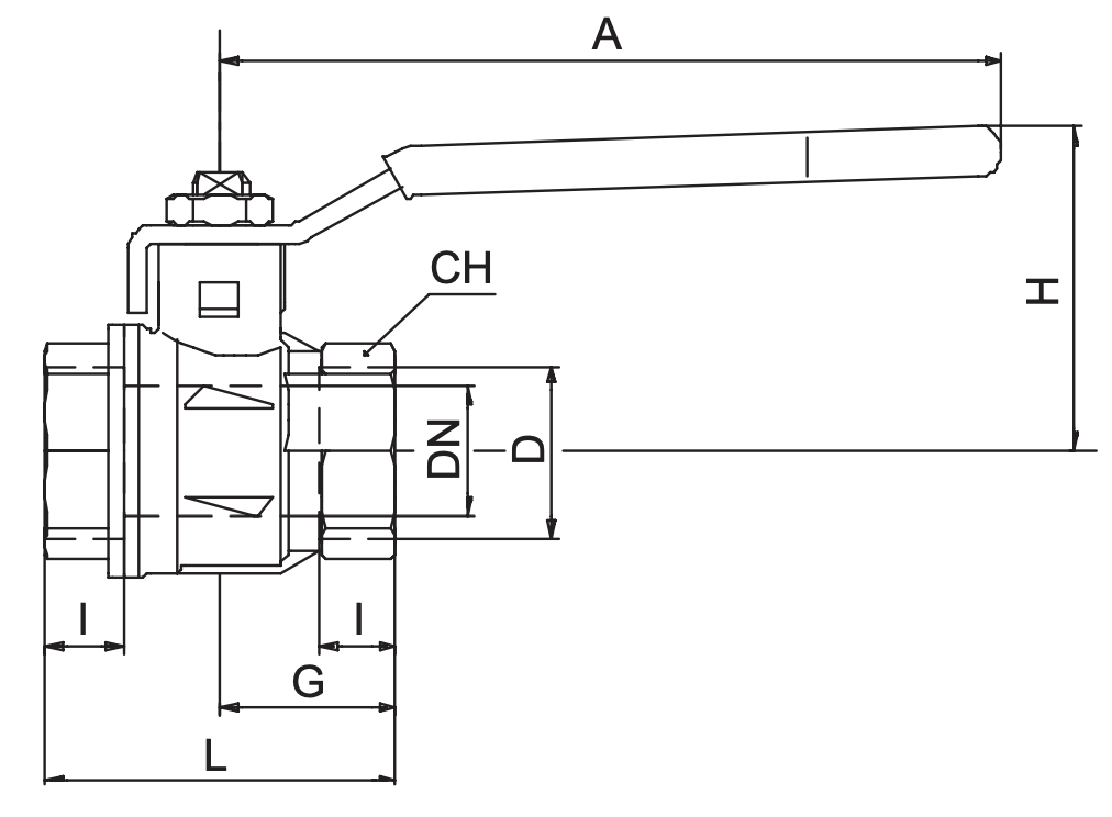
Кран кульовий 2-ходовий повнопрохідний з ручним керуванням Серія S90
![]() |
| Мод. | D | DN | I | L | G | A | H | CH |
| S90C00 | 3/8 | 10 | 9 | 39 | 19.5 | 82 | 38 | 20 |
| S90D00 | 1/2 | 15 | 11 | 50 | 25 | 100 | 43 | 25 |
| S90E00 | 3/4 | 20 | 12 | 54 | 27 | 120 | 50 | 31 |
| S90F00 | 1 | 25 | 14 | 67 | 33.5 | 120 | 54 | 38 |
| S90G00 | 1 1/4 | 32 | 15 | 77 | 38.5 | 158 | 73 | 48 |
| S90H00 | 1 1/2 | 40 | 17 | 90 | 45 | 158 | 79 | 54 |
| S90I00 | 2 | 50 | 19 | 106 | 53 | 158 | 86 | 66 |
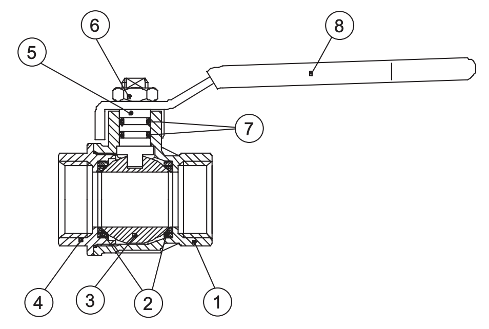
![]() |
| МАТЕРІАЛИ |
| Кількість |
| 1 Корпус - латунь нікельована | CW617N RUB001 | 1 |
| 2 Ущільнення кулі | PTFE RUB008 | 2 |
| 3 Куля - латунь хромована | CW617N RUB001 | 1 |
| 4 Корпус - латунь нікельована | CW617N RUB001 | 1 |
| 5 Шток - латунь нікельована | CW614N RUB001 | 1 |
| 6 Гайка | C10 RUB003 | 1 |
| 7 Ущільнююче кільце | FPM RUB009 | 2 |
| 8 Металева рукоятка | Fe50 RUB003 | 1 |
Код![]() |
Найменування![]() |
|---|
| Приєднання | від G3/8 до G2 (внутрішня різьба відповідно до UNI/ISO 7/1 Rp, ГОСТ 6211-81) |
| Умовний прохід, DN | 10, 15, 20, 25, 32, 40, 50 мм |
| Робоча температура | -40° ... +170°C |
| Матеріал | латунь |
| Робочий тиск | до 40 бар |
| Середовище застосування | вода, повітря, мастило, легкі вуглеводні (для неагресивних середовищ) |
___________________________________________________________________________________________________________________
| Розмір | DN 10 | DN 15 | DN 20 | DN 25 | DN 32 | DN 40 | DN 50 |
| КОДУВАННЯ | S90C00 | S90D00 | S90E00 | S90F00 | S90G00 | S90H00 | S90I00 |




